Das
Elektronik-Logbuch
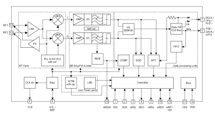
Wer den Elektor-SDR kennt, wird es bemerken: Auch hier wieder arbeitet alles mit PLL und Quadraturmischer. Dieses Prinzip scheint sich immer weiter durchzusetzen.

Jetzt fehlt nur noch die Ansteuerung. Eine Suche im Netz hat u.a. zu einem Beispiel mit BASCOM-AVR geführt, damit werde ich mal anfangen: www.comwebnet.de